您好,欢迎访问深圳市湾边贸易有限公司网站
国外工业品代购
深圳市湾边贸易有限公司
TEL:+86 0755 86216601
E-mail:info@wbsell.com

 Shenzhen Coastal Trading Co.,Ltd.

当前位置:
      
Huntington金属夹/金属环 SCM-075

Huntington金属夹/金属环 SCM-075

品牌:Huntington


型号:SCM-075


采购热线:0755-86216601      

          13714972229


¥ 0.00
0.00
数量:
立即购买
加入购物车
  
商品描述

品牌:Huntington


型号:SCM-075


采购热线:0755-86216601      

          13714972229





原装进口美国 Huntington旋转电子穿导器件

Huntington Mechanical Labs 成立于1969年,为研究实验室设计和制造真空组件和系统,受半导体和其他工业真空应用快速增长所带来的需求驱动。深圳湾边贸易原装进口美国Huntington ISO-KF和ISO配件/组件。

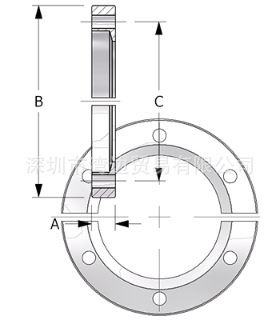
法兰硬件,金属,ISO-KF
速(KF)金属夹和金属环

Huntington


ISO-KF速度夹,金属

法兰尺寸 “A” “B” “C” 零件号
KF 16 0.63(16.0) 1.77(45.0) 2.40(61.0) SCM-075
KF 25 0.63(16.0) 2.17(55.0) 2.83(72.0) SCM-100
KF 40 0.71(18.0) 2.76(70.0) 3.54(90.0) SCM-150
KF 50 0.98(25.0) 3.74(95.0) 4.84(123.0) SCM-200
尺寸:英寸(mm),材质:铝

Huntington 1

 

ISO-KF定心环组件,普通

法兰尺寸 “A” “B” 零件号
KF 10 0.21(5.3) 0.039(10.0) CR-040
KF 16 0.21(5.3) 0.37(9.4) CR-050
KF 16 0.21(5.3) 0.63(16.0) CR-075
KF 25 0.21(5.3) 0.98(25.0) CR-100
KF 40 0.21(5.3) 1.57(40.0) CR-150
KF 50 0.21(5.3) 1.97(50.0) CR-200
尺寸:英寸(mm),材料: 304不锈钢环带Viton®弹性体O形圈

Huntington 2

 

ISO-KF定心环组件,带屏幕

法兰尺寸 “A” “B” 零件号
KF 16 0.21(5.3) 0.49(12.5) CR-075-S
KF 25 0.21(5.3) 0.85(21.5) CR-100-S
KF 40 0.21(5.3) 1.44(36.5) CR-150-S
KF 50 0.21(5.3) 1.83(46.5) CR-200-S
材料: 304不锈钢环和屏幕w /Viton®弹性体O形圈

CONICAL SCREEN CENTERING RINGS现已推出。专门设计的流动面积相当于我们标准的非屏蔽定心环,以减少限制。

Huntington 3

 

ISO-KF定心环组件,自适应 

法兰尺寸 “A” “B” “C” “D” 零件号
KF 16至10 0.21  0.67  0.39  0.47  CR-075-040
(5.3) (17.0) (10.0) (12.0)
KF 25至20 0.21  1.02  0.83  0.87  CR-100-087
(5.3) (26.0) (21.0) (22.0)
KF 40至32 0.21  1.61  1.26  1.34  CR-150-125
(5.3) (41.0) (32.0) (34.0)
材料: 304不锈钢环和屏幕w /Viton®弹性体O形圈

* 自适应定心环适应不同尺寸的KF配件*

深圳市湾边贸易供应Huntington产品

Huntington 4

 

ISO-KF替换O形圈

法兰尺寸 “A” “B” O型圈尺寸 零件号
KF 10 0.60(15.2) 0.21(5.3) 2-312 H-2312
KF 16 0.73 (18.4) 2-314 H-2314
KF 25 1.10 (27.9) 2-320 H-2320
KF 40 1.60 (40.6) 2-326 H-2326
KF 50 2.10 (53.3) 2-330 H-2330

undefined

 

ISO-KF隔板夹具

法兰尺寸 螺栓号 “A” “B” “C” 零件号
KF 16 6 0.36(9.2) 2.00(50.8) 1.50(38.1) BHC-075
KF 25 6 0.39(9.8) 2.38(60.5) 1.89(48.0) BHC-100
KF 40 6 0.37(9.3) 2.94(74.7) 2.44(62.0) BHC-150
KF 50 8 0.40(10.3) 3.75(95.3) 3.25(82.6) BHC-200

undefined



供应产品
SUPPLY PRODUCTS
        
地点:深圳市龙华新区观澜大道75号田背花园E单元806    ​

电话:86 0755 86216601   

传真:86 0755 86216602   

邮编:518110 

邮箱:info(at)coastaltrading.com.cn